KS Tools 3 leg puller, f.hydraulic,
Product code: 7886402415
Price:
4 269,69 € Inc. VAT
Availability:
in a warehouse
Description
Price unit:
Pack of: 1
Pack of: 1
Availability
-
Technical data:
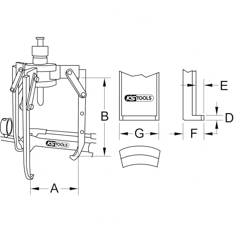
number of arms = with 3 arms
Max. load t = 15
jaw depth B = 440mm
height of arm tip D = 17 mm
Max. torque Nm = -Nm
arm tip depth E = 16mm
arm total depth F = 32 mm
function attribute 1 = adjustable in the working depth
arm width G = 32 mm
weight in g = 22000g
length description = XXL
material1 = special steel
max. KN = 150.0
max. t = 15
fast adjustment = no
spindle size mm = M68x2
maximum clamping width A in mm = 500mm - Weight: 22 kg
KS TOOLS Tools & workshop equipment
Page
315








